Дорожные машины и теxнологии

КОМПЛЕКТНЫЙ ЗАВОД ПО ПЛАВЛЕНИЮ БИТУМА,
ПОСТАВЛЯЕМОГО В УПАКОВКЕ ТИПА BIG BAG
И ЕГО ПОДАЧИ В БИТУМОВОЗЫ (2014)

Dst-6

Dst-6

ТЕХНИЧЕСКОЕ ОПИСАНИЕ

 УСТАНОВКА ДЛЯ ПЛАВЛЕНИЯ БИТУМА MASSENZA :

    Установка предназначена для плавления битума, поставляемого в твердом виде в упаковке типа Big Bag, B2Bags, Jumbo Bags, Polycube и т.д. массой до 1000 кг. В последствии, уже жидкий битум подается в битумовозы либо непосредственно в производственную линию. Установки характеризуются простотой в обслуживании, высокой надежностью и экономичностью в эксплуатации. Установка по плавлению и масляный теплогенератор замонтированы на едином подрамнике, что обеспечивает полную независимость от внешних источников теплоносителя.

Производственный процесс выглядит следующим образом:

1. Битум в твердом виде поступает на рабочую площадку в упаковках описанных выше.

2. Загрузка Big Bag в плавильную камеру осуществляется со склада сверху установки при помощи вильчатого погрузчика или специальной системы загрузки (опция), при которой надрезается внешняя упаковка и битум погружается для плавления, а внешняя упаковка остается на подъемном устройстве.

3. Усиленные разогревающие термомасляные змеевики располагаются в верхней и нижней части камеры плавления. Верхние предназначены для разделения твердого битума, нижние непосредственно для плавления.

4. Разогретый битум стекает в приемную ванну. Температура битума внутри плавильной установки автоматически регулируется при помощи моторизированного клапана до заданных параметров на контрольной панели.

5. Жидкий битум из приемной ванны перекачивается в термохранилище для дальнейшей подачи в битумовоз или в производственный процесс, напрмер, в эмульсионную установку, установку по модификации битума, асфальтобетонный завод (погружной битумный насос AF200 производительностью 12000 л/ч с приводом от электродвигателя мощностью 4 кВт).

Описание

 

Входные люки сверху установки для загрузки упаковок массой до 1000 кг

 

Змеевики термомасла с площадью обогрева, м2

50

Теплоизоляция из минеральной ваты толщиной, мм

70

Плотность минеральной ваты, кг/м3

100

Наружная обшивка оцинкованным листом

 

Смотровой люк, индикатор уровня, термометр

 

Общее количество загружаемых Биг Бэгов по 1000 кг, шт.

4

Объем приемной ванны жидкого битума, л

9000

Производительность при нагреве до 1100С, кг/ч

около 5000

Термостат и цифровой дисплей для регулировки температуры битума

 

Транспортная длина, мм

11250

Транспортная ширина, мм

2100


•  Масляный теплогенератор MASSENZA MG40

Dst-6

    – КПД более 90%
    – производительность 400.000 кКал/ч
    – центробежный электрический насос для циркуляции масла,
       45000 л/ч с механическим уплотнением
    – автоматическая горелка RIELLO на дизельном топливе
    – контрольные инструменты для регулировки и безопасности
       циркуляции горячего масла
    – электрическая панель (380V, 50Hz, 3 фазы + нейтраль)
       с предохранителями, главный выключатель в водонепроницаемой коробке
    – соединительная электропроводка в водонепроницаемой изоляции
    – расширительный бачок для термического масла 440 л
    – выключатели минимального и максимального уровней
    – термостат безопасности на вытяжной трубе

•  Битумный танк-хранилище MASSENZA TH56

Dst-6

Производственный процесс выглядит следующим образом:

    – вместимость 50 м3;
    – обшивка двойным гальванизированным металлическим листом,
       теплоизоляция из минеральной ваты толщиной 100 мм;
    – нагревательные змеевики – площадь нагрева 36 м2;
    – люк, индикатор уровня, термометр;
    – один моторизированный клапан DN50, для автоматической регулировки
       температуры битума, включая термостат и цифровой дисплей,
       установленный на контрольной панели;

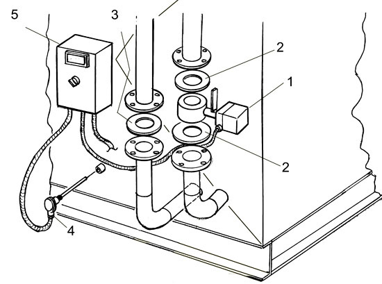
Dst-6

           1 – Моторизированный дроссельный клапан DN 50
           2 – Прокладка ø 2"
           3 – Прокладка ø 2" 1/2
           4 – Датчик температуры PT100
           5 – Панель управления

   –  мембранный индикатор уровня для работы с высокими температурами с выходным сигналом 4-20 мA с цифровым преобразователем, установленный на емкости;


•  Битумные трубопроводы

    соединяющие плавильную установку с танком-хранилищем TH56 без обшивки и теплоизоляции.

•  Термомасляные трубопроводы

    соединияющие масляный теплогенератор MG с танком-хранилищем TH56 без обшивки и теплоизоляции.

•  2 ручных шаровых крана

    изготовленные из углеродистой стали с графитовыми уплотнениями.

•  Шестеренный битумный насос производительностью 45000 л/ч

    - с байпасом, DN100 PN16, тефлоновыми уплотнениями, рубашкой обогрева
    - привод от электрического двигателя мощностью 15 кВт, опорная рама и соединительная муфта
    - контрольная коробка управления насоса с термовыключателями, термозащитой и контрольными лампами.

•  Терминал выдачи битума в битумовозы


  Опциональное оборудование:

    Система загрузки в плавильную установку.